Samsung : le format Wide suscite toujours l’intérêt
Samsung montre dans un brevet qu’il songe à un Galaxy Z TriFold Wide en plus du Galaxy Z Fold 8 Wide. Le Galaxy Z TriFold peut se plier en trois avec deux charnières, tandis que le Galaxy Z TriFold Wide serait un modèle similaire mais plus large.

Un récent brevet (PDF) acquis par Samsung révèle la possibilité d’un Galaxy Z TriFold Wide. Cela démontre que le constructeur semble particulièrement intéressé par ce format élargi pour les smartphones pliables.

Pour l’instant, il est question d’un potentiel Galaxy Z Fold 8 Wide : un smartphone Fold avec un écran plus large, mais moins haut. Ce format est en ligne avec ce que devrait proposer l’iPhone Fold d’Apple.
À quoi ressemblerait un Galaxy Z TriFold Wide ?
Samsung envisagerait déjà la prochaine étape, à savoir une version Wide de son Galaxy Z TriFold, qui est pourtant très récent.
Il est à noter que, grâce à deux charnières, le Galaxy Z TriFold peut se plier en trois volets au lieu de deux. Les dessins contenus dans le brevet de Samsung illustrent donc un modèle similaire, mais élargi. En résumé, un Galaxy Z TriFold Wide qui serait fidèle à son nom.

Samsung adopterait ici la même méthode que pour le premier TriFold, en intégrant un écran externe pour un usage en tant que smartphone distinct de l’écran interne. Cela donnerait un appareil replié de manière spiralée, évoquant une sorte d’escargot vu de côté.
En plus du format élargi et, semble-t-il, moins haut, des illustrations montrent également la possibilité d’un mode stand pour profiter d’un écran incliné tout en posant le smartphone sur une surface plane.

Le retour du S Pen ?
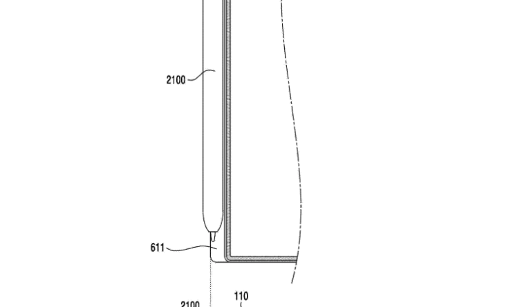
De plus, Samsung examine dans son brevet la possibilité d’attacher un stylet S Pen de manière magnétique sur la tranche de l’appareil. Cela rappelle l’initiative du constructeur avec ses tablettes Galaxy Tab.

Il est important de noter qu’un brevet ne garantit en rien un lancement imminent. À travers ce document, Samsung sécurise son idée, sans pour autant s’engager à commercialiser un tel produit.

