LEGO Smart Brick : toutes les infos sur la brique connectée de 2026
En 2026, LEGO introduira la Smart Brick, une brique 2×4 intégrant un processeur, une batterie, un haut-parleur, un microphone, et un système d’éclairage LED. La technologie repose sur des Tags RFID/NFC intégrés dans des pièces spécifiques pour permettre à la Smart Brick de reconnaître son installation dans différents contextes de jeu.

Les rumeurs circulaient depuis plusieurs mois, les brevets viennent de clarifier la situation. En 2026, LEGO ne se contentera plus de vendre du plastique ABS inerte. La marque prépare une offensive technologique avec son système Smart Brick.
Attention, il ne s’agit pas simplement d’un boitier à piles avec une LED clignotante. C’est un écosystème matériel complet qui s’invitera dans les gammes City, Star Wars et potentiellement Pokémon. Le projet repose sur une brique maîtresse chargée d’électronique, capable d’interagir physiquement avec le reste de votre construction. Exit les piles, bienvenue à l’induction et à la reconnaissance d’objets. Voici ce qui se cache vraiment derrière la technologie de 2026.
Le cœur du système : une brique 2×4 sous stéroïdes
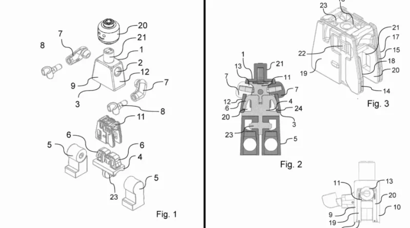
Au centre de tout se trouve la Smart Brick. Visuellement, c’est une brique de 2×4 tenons, un format standard. Cependant, l’ingénierie à l’intérieur est dense. Les brevets (notamment le EP4591961A1) décrivent un appareil autonome intégrant un processeur, une batterie, un haut-parleur, un microphone et un système d’éclairage LED.

Mais l’intérêt technique réside ailleurs. Cette brique n’est pas aveugle. Elle est équipée :
- Un accéléromètre pour détecter les mouvements (secousses, inclinaison).
- Un capteur de couleur/lumière optique.
- Un système de bobines d’induction sur ses faces latérales.
Voici où cela devient impressionnant : ces bobines ne servent pas seulement à l’énergie. Elles permettent à la brique de localiser spatialement les autres accessoires connectés autour d’elle. Elle sait si un objet est posé dessus, à côté, ou devant. C’est de la fusion de capteurs : le système combine l’accéléromètre (est-ce que je bouge ?) et la détection de proximité (qu’ai-je sur le dos ?) pour déterminer le contexte de jeu.

La vraie bonne nouvelle ergonomique ? Le passage à la recharge sans fil par induction. Les brevets montrent des « pads » de recharge où l’on posera directement les constructions. Finies les démonter pour changer les piles.
Comment la brique sait ce qu’elle construit : la technologie RFID
Pour que la Smart Brick sache qu’elle est installée dans un X-Wing ou un Pikachu, elle doit lire des données. LEGO utilise pour cela des Tags RFID/NFC passifs. C’est une technologie éprouvée, peu coûteuse, qui ne nécessite pas d’alimentation pour les pièces périphériques.

Ces tags sont intégrés dans des pièces spécifiques :
- Des tuiles (tiles) de décoration.
- Des accessoires (boucliers, équipements).
- Et des figurines.
Le système fonctionne par hiérarchie d’identité. Exemple concret tiré de l’analyse des brevets :
- Vous insérez la brique dans une construction.
- Vous clipsez une tuile « Dinosaure » contenant un tag. La brique charge le profil sonore « Rugissements ».
- Vous ajoutez une tuile « Ailes ». La brique comprend qu’elle est un dragon et active les sons de vol lorsque l’accéléromètre détecte un mouvement dans l’air.
C’est techniquement brillant. Cela permet une granularité d’interaction jamais vue sans avoir besoin de connecter le jouet à un smartphone. Tout se passe localement.
L’intégration dans les figurines : le défi structurel
C’est un point technique qui va changer les habitudes. Pour loger l’antenne et la puce RFID dans une minifig, LEGO a dû revoir sa conception interne. Les schémas techniques sont formels : sur ces figurines interactives, les jambes et le torse seront solidaires.
Pourquoi ? Car il faut faire passer le circuit de communication. C’est une contrainte physique : pour que votre figurine Dark Vador déclenche le son de sa respiration en s’approchant de la brique, elle doit être reconnue comme un objet unique et complet. C’est un compromis d’ingénierie : on perd en modularité mécanique ce qu’on gagne en interactivité numérique.
Une architecture centralisée
Les brevets laissent entrevoir une architecture modulaire. Au lieu d’équiper chaque boîte d’une électronique coûteuse, la marque semble s’orienter vers un système de « cœur universel », similaire à celui de la gamme Super Mario.
Concrètement, l’utilisateur posséderait un Pack de Démarrage contenant la Smart Brick (le cerveau et l’énergie) ainsi que son dock de charge. Les autres ensembles (X-Wing, Arène Pokémon, bâtiments City) fonctionneraient comme des périphériques passifs. Ils contiennent les briques classiques et les fameux tags RFID.
Vous achetez le gros set Star Wars, vous y insérez votre Smart Brick unique, et grâce aux tags présents dans le vaisseau, la brique « télécharge » instantanément le profil sonore et lumineux correspondant. Cela transforme la Smart Brick en une sorte de console de jeu physique que l’on déplace d’un jouet à l’autre.
En résumé, avec la Smart Brick, LEGO tente son pari technique le plus audacieux depuis des années. L’entreprise cherche à apporter un peu d’innovation (sons, lumières, réactions contextuelles) via le tangible, sans passer par un écran.
L’adoption de l’induction résout le problème de l’énergie, et le RFID offre une solution pour l’identification. Si la détection est instantanée et l’autonomie solide, ce système pourrait devenir le nouveau standard technique de la marque.
Rendez-vous en 2026 pour découvrir l’exécution finale.

